今天來講述一下搬家公司的案例。首先我們在什么情況下才可以想到搬家公司呢,是不是只要在搬家才可能想到搬家公司。我們要擴大一下范圍把盡可能需要搬家公司的地方都考慮進去,比如公司換個工作場地是不是需要到搬一下辦公設備,比如在室外辦一場活動是不是需要搬一些活動需要的工具這就需要搬家公司了。
上面說了兩點盡可能需要到搬家公司的工作的兩種情況,既然有這兩種情況,我們就要把握住,來獲取很多的客戶。
如果讓客戶找到我們呢?這樣我們需要在詞上做文章。比如我們有需求要找搬家公司我們會如何去做?是不是我們會打開百度搜索一下搬家公司,或者你在地區加上地區名字上海搬家公司,又或者直接搜索搬家公司電話,上海搬家公司電話。客戶找到你之后如何才確定你來幫他服務呢,你應該把你服務主旨體現出來,讓客戶眼前一亮,就確定你來幫他服務。接下來要做的任務就是把客戶提到一些詞來優化到首頁來獲取業務。
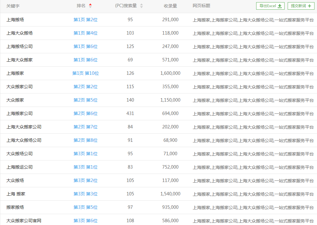
這是就是根據分析的情況提供的一些詞

我們接到客戶的站的時候發現是個新站,新站對于網站優化來說難度不大。接下來就是把網站來進行基礎的網站優化調整。
網站tdk的調整
![]()
主營業務的小標題描述可以根據關鍵詞來進行書寫,這樣可以更好的體現關鍵詞,更快出排名。

給圖片添加alt描述,有利于百度蜘蛛的抓取


咱們這個站簡單大方,又符合搜索引擎的規則,需要大面積調整的地方不多,接下來就是網站進行長期維護的階段了,進行一些文章的發布,友鏈內鏈的交換。
中間進行的一系列維護就不在詳細描述了,現在來看一下現在達到一個什么情況了。
從當初的新站到現在的情況有流量,有排名。

網站現在收錄的情況

當初客戶提供的6個詞現在已經有5個詞達標在首頁了:上海搬場公司、上海搬場、上海大眾搬家、上海大眾搬場、上海搬場公司。這些詞已經達標了,www.dz56s.com 各位可以自己百度查看一下。

最后感謝上海搬家公司的客戶相信我們云無限,全部委托我們來優化,優化過程中對我們全方面的配合,我們由衷的表示感謝。客戶選擇我們就是對我們最大的信任,我們以優化的角度更了解客戶的需求。客戶的每一份信任,就是我們最大的動力!